1. 서 론
2. EQCM의 기본원리 및 구성
2.1. EQCM의 기본원리
2.2. EQCM의 구성
2.3. 수정진동자 전극 공진주파수에 영향을 주는 요인들
3. EQCM의 적용 예
3.1. 은 전착(electrodeposition)을 이용한 교정(calibration)
3.2. 백금 염소침출의 속도론적 연구
4. 결 론
1. 서 론
금속의 침출반응은 산 또는 알칼리용액에서 해당 금속이 금속이온으로 용해되어 나오는 과정을 따르고 필요에 따라 산화제를 첨가할 수도 있다. 이때 침출 반응기구나 속도연구를 위해서는 침출액을 일정 시간 간격으로 채취하고 이를 발광분광분석이나 원자흡광분석 등의 방법으로 조사하는 것이 일반적인 접근법이다. 그러나 침출액의 금속이온 농도가 매우 낮거나 침출액의 양이 적어 샘플채취가 실험 자체에 영향을 줄 때, 또는 침출된 금속이 침출액에서 침전, 휘발 등 부가적인 반응을 일으킬 때는 상기의 분석법 적용이 어렵고 침출반응을 동시에 관찰하는 실시간 분석(In-situ Analysis)이 필요하다.
근래에 전자 및 광학 기술의 급격한 발달과 함께 다양한 실시간 분석법들이 개발, 소개되고 있고 전기화학적 미소수정진동자저울(Electrochemical Quartz Crystal Microbalance, EQCM)도 그 일례이다. 원래 미소수정진동자저울(QCM)은 진공증착기술 분야에서 증착박막의 두께를 측정하기 위해 사용해 오던 것을 용액 속에서 일어나는 나노그램(10-9 g) 수준의 질량변화를 측정하는 연구에 도입하면서 개발되기 시작하였다. 초창기에는 일부 연구자들이 자작하여 사용하던 QCM이 전자기술의 발달과 함께 1970 년대 초에 상용 장비가 선을 보이며 그 적용이 급속이 퍼졌다1). 그러나 진공 또는 기체 분위기에서 적용되던 QCM을 용액 속으로 도입하려는 초창기 시도는 많은 어려움을 겪었다. 진공 또는 기체와 달리 용액이 가지는 점성, 수압, 복잡한 계면 현상 등은 안정적인 장비의 운용 및 얻어진 데이터의 해석을 어렵게 하였다. 1982년 Nomura와 Okuhara에2) 의해 유기용액에 수정진동자를 넣었을 때 발생하는 주파수 이동이 최초로 보고되었고 Kanazawa3), Brukenstein4) 등에 의해 QCM의 본격적인 용액에서의 응용 탐색이 시작되었다. 이후 용액 내에서의 QCM의 거동에 대한 이론적, 실험적 연구와 더불어 다양한 분야에서 용액 내 화학반응에 대한 QCM 적용 연구결과들이 보고되었다. 특히 전기화학과 결합되어 전기화학반응이 진행되는 동안 전극에서의 질량변화를 실시간으로 측정하는 것을 ‘전기화학적 미소수정진동자저울(EQCM)’이라고 하고 일반적인 QCM과 구분하고 있다.
본 총설에서는 EQCM의 개요를 소개하고 이를 이용한 전기화학 실험 예와 통상의 분석방법 활용이 곤란한 유가금속의 침출실험에서의 적용 예를 소개하고자 한다.
2. EQCM의 기본원리 및 구성
2.1. EQCM의 기본원리
2.1.1. 압전효과 (Piezoelectric Effect)
압전효과는 1880년 프랑스 물리학자 퀴리에 의해 발견되었으며, 어떤 결정체에 기계적 압력이 가해지면 특정 방향으로 전기분극을 일으키는 현상을 말한다. 수정이나 로셀염 등이 대표적인 물질이며, 압력을 가할 때 전압이 발생하는 것을 압전직접효과라 하고 반대로 전압을 걸면 결정체가 변형을 일으키는 현상을 압전역효과 또는 역압전효과(Converse Piezoelectric Effect)라고 한다5).
2.1.2. 수정진동자
수정은 역압전효과가 현저한 결정체인데 결정축에 일정한 각도로 자른 판상의 수정 양면에 금속전극을 형성시키고 전압을 교대로 가하면 특정방향으로 진동을 하게 된다. 이때 가해주는 전압의 주파수가 전극이 형성된 수정진동자의 고유 공진주파수에 도달하게 되면 공진현상에 의해 진동의 진폭이 최대가 된다. 수정진동자의 진동은 길이, 측면, 전단, 비틀림 방향 등 절단 방향에 따라 여러 가지 형태로 진동하게 되는데 특정 모드 진동만을 유발하기 위하여 수정을 특정 방향으로 가공하게 된다. 이 중 EQCM으로 활용시 질량변화에 가장 민감한 형태는 수정 진동자의 두께 방향에 대한 전단진동모드(thickness-shear mode)(Fig. 1)이고 대표적인 예로 rotated Y-cut 족의 AT- cut 과 BT-cut이다(Fig. 2)6).
2.1.3. Sauerbrey 식
공진주파수와 수정진동자에서 발생하는 질량 변화의 상관 식은 1959년 독일의 Sauerbrey7)에 의해 제안되었다. 식 (1)은 수정진동자의 공진주파수 변화와 전극표면에서 발생한 질량변화의 상관관계를 나타낸다.
| $$\mathrm{Δf}\;=\;-\frac{2nf_0^2}{\sqrt{(\rho_q}\mu_q)}\mathrm{Δm}\;=\;-{\mathrm C}_{\mathrm f}\;\mathrm{Δm}$$ | (1) |
f0 Resonant frequency (Hz)
Δf frequency change (Hz)
Δm mass change
ρq density of quartz (2.648 gcm-3)
μq (shear moduus of quartz ( 2.947×1011 gcm-1s-2)
n harmonic number parameter (for the first harmonic n=1)
Cf mass sensitivity factor or calibration constant
위의 식에서 질량변화를 나노그램 단위로 바꾸면 10 MHz 수정진동자의 Cf는 0.2264 Hzcm2/ng의 이론값을 가진다. 이로부터 식 (1)은 10 MHz 수정진동자 전극을 사용할 경우 100 ng/cm2의 질량증가 시 22.6 Hz의 공진 주파수 감소가 발생함을 의미한다. 그러나 Sauerbrey 식은 유도시 적용된 가정에 의해서 질량변화를 유발하는 대상이 균일하게 분포하고 단단해야 하며, 공진주파수 변화 범위가 Δf/f < 0.05이어야한다8). Sauerbrey 식이 적용되지 않는 경우 주파수-질량 변환 관계에 대한 많은 연구 또한 진행되었고 현재는 다양한 분야에서 EQCM 적용연구가 보고되고 있다9,10),11),12).
2.2. EQCM의 구성
EQCM은 질량변화 측정과 동시에 전기화학적 실험을 위한 작업전극(working electrode)으로 수정진동자 전극을 사용하고 공진주파수로 발진시키기 위한 발진회로 및 이를 구동하기 위한 정밀전원공급기, 그리고 주파수변화를 측정하기 위한 주파수측정기로 이루어져 있다. 또한 전기화학적 실험을 위한 포텐시오스테트(Potentiostat)가 수정진동자에 형성된 금속전극 중 용액 노출면을 작업전극으로 공유한다. 이때 포텐시오스테트와 발진회로의 전기적 신호가 서로 영향을 주지 않도록 구성된다. 또한 근래에는 이들을 제어하기 위한 프로그램이 탑재된 컴퓨터는 일반적인 선택이 되었다(Fig. 3).
2.2.1. 수정진동자 전극
EQCM의 수정진동자 전극은 수정진동자의 양쪽 면에 전기화학 실험을 위한 전극으로 사용 가능하도록 용도에 따라 특정 금속박막이 증착되어 있다. 일반적으로 가장 많이 사용하는 것이 금(Au) 과 백금(Pt)이며, 수정진동자와의 접착력을 높이기 위해 수십 Å내외의 크롬(Cr)이나 티타늄(Ti) 사이층(interlayer)이 형성되어 있다. Fig. 4의 왼쪽은 사이층으로 Ti, 전극으로 Pt를 사용한 10 MHz At- cut이고 오른쪽은 사이층으로 Cr, 전극으로 Au를 사용한 6 MHz AT-cut의 예이며, 전극에 연결된 리드선 없이 공급되기도 한다. 금 전극의 경우 티타늄은 균일한 사이층을 형성하는데 비해 크롬은 Cr-Au 합금을 형성하는 차이가 있다13). 사이층의 금속재질은 실험 용도에 따른 적절한 선택이 필요하다. 한편 전극층은 일반적으로 1000~2000 Å의 두께를 가지며. 표면은 경면처리(polished)된 것을 주로 사용한다. 사용되는 공진주파수의 범위는 대개 5~10 MHz 범위가 가장 많다. 공진주파수가 높을수록 Sauerbrey 식에서도 알 수 있듯이 질량변화 분해능은 높아지지만 사용가능한 실험물질량은 적어진다.
2.2.2. 발진회로
발진회로는 수정진동자 전극이 공진주파수에서 지속적으로 진동하게 하며, 측정된 공진주파수 값의 출력도 담당한다. 발진회로는 다양한 분야에서 사용한 역사에 비례하여 여러 가지 종류가 개발, 사용되고 있다. 그러나 용액의 점성에 의한 댐핑(damping) 효과가 큰 EQCM 활용 환경에서는 발진이 약해지는데, 발진회로는 이를 극복할 수 있는 구성이어야 한다. EQCM용 발진회로는 크게 세 가지로 나눌 수 있으며, 트랜지스트, TTL gate IC, 그리고 differential video amplifier를 사용하는 발진기가 있다. 많이 사용되는 것은 두, 세 번째 형태로 TTL gate IC를 사용한 대표적인 것은 Bruckenstein 회로가 있다. Bruckenstein에 의해 소개된 이 발진회로는 TTL 7404 HEX inverter를 사용하여 수정진동자 전극을 공진주파수로 발진시킨다. Gate IC를 이용한 발진회로는 용액과의 접촉 시 오버톤 발진이 일어날 수 있으므로 LC 튜닝회로를 추가한다. Differential video amplifier를 사용하는 대표적인 것은 Buttry 회로인데, 강한 전류 귀환을 위해 고이득 차동증폭기(high-gain differential amplifier)를 사용하였으며, 작업전극의 실제 접지가 가능하여 Wenking-type 포텐시오스테트 사용이 가능하다14). 연구 초기에는 연구자들이 기본회로를 바탕으로 자작하여 연구에 활용하는 경우가 많았으나 최근에는 전기화학 장비 전문공급업체들이 EQCM을 공급하는 경우가 많다. 실제 EQCM 시스템을 선택하고 사용할 때 제일 중요한 것은 용액의 점도 등 전기화학계의 특성에 따라 수정진동자 전극의 발진에 큰 차이가 발생하므로 이를 세심히 고려해야 한다. 최근 시중에서 구입 가능한 상용 EQCM 시스템은 아주 소량의 용액을 사용하는 업체공급 셀 어셈블리에서만 안정적인 발진이 되어 다양한 셀과 용액 환경에서 실험 시 한계를 가진 것들이 많아 선택에 주의하여야 한다.
2.3. 수정진동자 전극 공진주파수에 영향을 주는 요인들
EQCM 활용 시 용액 속에서 수정진동자 전극의 공진주파수는 다양한 요인들의 영향을 받게 된다. 전극에서의 질량 변화 외에 수압, 용액의 점도, 온도, 전극 표면거칠기, 그리고 전극 반응 시 발생 가능한 스트레스 등이 있다. 식 (2) 는 공진주파수 변화와 이러한 요인들 간의 관계를 나타낸 식이다15).
| $$\mathrm{Δf}\;=\;{\mathrm{Δf}}_{\mathrm m}\;+\;{\mathrm{Δf}}_{\mathrm v}\;+\;{\mathrm{Δf}}_{\mathrm p}\;+\;{\mathrm{Δf}}_{\mathrm T}\;+\;{\mathrm{Δf}}_{\mathrm r}\;+\;{\mathrm{Δf}}_{\mathrm s}$$ | (2) |
Δf resonant frequency change
Δfm mass change effect
Δfv viscosity effect
Δfp pressure effect
ΔfT temperature effect
Δfr roughness effect
Δfs stress effect
용액실험 시 질량변화 외의 주요한 요인들은 온도와 점도이고 실험 시 주의해서 살펴야 할 것은 온도와 스트레스 효과이다. 점도와 수압16), 그리고 전극 표면거칠기17) 등은 실험 전에 어느 정도 정보를 사전에 알 수 있고 그 영향의 정도를 문헌이나 실험을 통해 파악, 통제 가능하다. 그러나 온도와 스트레스는 실험동안 실시간 변동 가능성이 높아 세심하게 살펴보지 않으면 고려하여야 할 수준의 영향을 받게 된다.
2.3.1. 온도의 영향
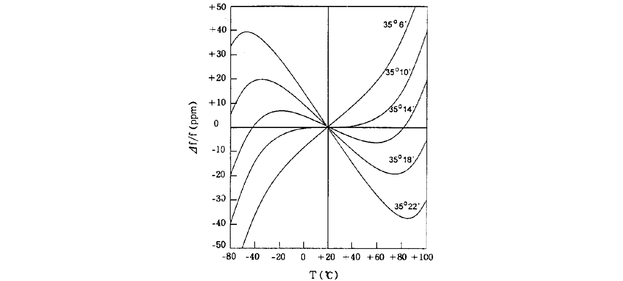
Fig. 5는 AT-cut 수정 진동자 전극의 절단각도에 따른 공진수파수의 온도 의존성을 나타낸 것이다14). 표준 AT- cut 절단각도가 35°15‘이며, 상온 부근에서는 온도변화에 큰 영향을 받지 않는다. 약 1°C의 온도변화에 대해 1 ppm 정도의 변화를 나타내는데, 공진주파수 10 MHz의 경우 10 Hz 정도에 해당 된다18). 그러나 온도가 40°C 이상 높아짐에 따라 그 변화정도가 커지므로 용액을 가열해야하는 경우가 대부분인 침출실험에 EQCM을 적용할 때는 온도조절에 주의를 기울여야한다. 또한 수정진동자의 표준 절단각도로부터 조금씩 벗어남에 따라 주파수변화의 온도의존성이 더 커지게 되는 것도 유의하고 이의 보정을 시행하여야 한다.
2.3.2. 점도의 영향
Kanazawa3) 등은 용액 속에서 수정진동자 전극의 공진주파수가 용액의 밀도(ρ)와 점도(η)에 (ρη)1/2의 형태로 비례해서 낮아진다고 보고하였다. Muramatsu19) 등은 마찰손실(motional resistance)로 표현되는 공진감쇄(resonance damping) 또한 (ρη)1/2에 비례해서 증가한다고 하였다. 달리 말하면 수정진동자 전극이 용액 속에 놓이게 될 경우 진동모드의 에너지 손실 비율을 의미하는 dissipation factor(DF)의 변화가 발생하고 이 역시 (ρη)1/2에 비례한다는 것이다. AT-cut 수정진동자 전극을 용액에 노출시키면 두께 전단 모드(thickness shear mode)로 진동하는 전극 표면의 진동이 용액쪽으로 지수함수적으로 감소하는 전단파를 만들게 된다. 5 MHz의 공진주파수를 가지는 경우 공진주파수와 dissipation에 영향을 주는 용액층의 두께는 대략 0.3 μm로 알려져 있다20). 이는 수정진동자 전극표면에 질량 증가가 생기면 두께 전단 모드 진동이 더 힘들어지고 공진주파수 감소가 일어나듯이 전극이 용액과 접촉할 때도 유사한 현상이 발생함을 의미한다. DF의 역수인 Q-factor(Q)는 공진주파수(f0)와 진동출력이 공진주파수 출력의 절반보다 큰 주파수대역 넓이인 반값전폭(resonance width, Δf)의 f0/Δf로 정의되고 이 값이 클수록 공진주파수에서 안정적으로 발진된다. 그러나 용액 속에서는 댐핑에 의한 영향으로 Q-factor의 감소가 발생하고 점도가 매우 높을 경우에는 공진이 안되는 상황이 발생한다21).
2.3.3. 스트레스의 영향
대부분의 경우 발생하는 스트레스 효과는 미미하다. 그러나 전극 표면에 형성된 전착금속이나 기타 필름에서 전기화학적 실험 시 고려해야할만한 스트레스가 발생할 수 있고 이는 수정진동자 전극의 공진주파수에 영향을 준다. 스트레스가 발생할 경우 수정진동자 전극의 radial sensitivity function이 변하게 되고 이는 심각한 오차를 유발하게 된다22). 실험적 육안 관찰로는 시료에서 스트레스가 발생하였는지 알기 어렵고 스트레스에 의한 영향을 배제하기 위해 SC-cut 수정진동자 전극을 사용하기도 한다. 일반적으로는 스트레스에 대해 정반대의 주파수 변화 거동을 나타내는 AT-cut과 BT-cut 수정진동자 전극을 사용해서 실험적으로 전체 주파수 변화 중 스트레스 기여부분의 분리가 가능하다. 이는 EerNisse에 의해 “double resonator technique”으로 제안되었다23). AT-cut과 BT-cut의 스트레스 계수의 크기는 각각 –2.75×10-11 m2/N, 2.65×10-11 m2/N이다24).
3. EQCM의 적용 예
3.1. 은 전착(electrodeposition)을 이용한 교정(calibration)
EQCM을 질량변화 측정에 사용하기 위해서는 Sauerbrey 식에 의한 주파수-질량변환 관계가 유효한지 먼저 검증하여야 한다. 즉, 실험적으로 식(1)의 Cf 값을 구하고 이 값이 이론적으로 계산된 값과 어느 정도 차이가 있는 지를 살펴보는 것이다. 일반적으로 EQCM의 교정에는 전착 시 전류효율을 100 %로 가정할 수 있는 은(Ag), 구리(Cu) 등의 금속이 사용된다. Vatankhah15) 등은 은의 전착을 이용하여 전기화학적 전착기법에 따른 Cf 값의 신뢰도 차이를 조사하여 7~16 원자층 정도의 전착을 정전류 또는 정전압법으로 할 경우 가장 좋은 결과를 얻을 수 있다고 보고하였다.
본 연구에서는 상기 보고를 참조하여 황산은 용액에서 정전류법에 의해 금으로 형성된 수정진동자 전극 위에 은을 전착하는 방법으로 교정상수(Cf)를 구하였다.
3.1.1. 실험 방법
본 실험에서는 Autolab 포텐시오스테트 302N과 Maxtek 사의 RQCM 모델을 사용하여 EQCM 시스템을 구축하였다.(Fig. 6) 수정진동자 전극으로는 금이 증착된 Quartzpro 사의 10 MHz AT-cut을 사용하였다. 교정상수를 구하기 위한 은 전착 용액은 0.5 mol/L 황산 용액에 황산은(Ag2SO4, kojima)을 용해하여 1.5 mmol/L 농도로 제조하였다. 전기화학셀은 워트자켓이 달린 200 mL pyrex 반응조에 Sat. KCl Ag/AgCl 참고전극과 백금 대전극을 사용하여 삼전극(3-electrode) 시스템으로 준비하였다. 실험 전 고순도 질소(99.999 %)를 24시간 이상 주입하였고 용액온도는 순환 항온조를 이용하여 25°C로 유지하였다. 수정진동자 전극이 마운트된 아크릴 전극 홀드를 용액 속에 장입하고 32 μA/cm2 정전류를 인가하여 은을 전착시켰다. 이때 전착된 은의 질량은 전류효율이 100 %라는 가정하에 이론적으로 계산하였다.
3.1.2. 실험 결과 및 고찰
Fig. 7은 정전압 인가에 따른 은 전착 시 전극전위와 공진주파수의 변화를 나타낸 것이다. 정전류가 인가됨에 따라 전극전위가 0.56 V에서 떨어지기 시작하여 0.45 V 정도에서 유지되었다. 수정진동자 전극의 공진주파수는 직선적으로 감소하였다. Fig. 8은 은 전착 시간에 따른 공진주파수 변화로부터 Sauerbrey 식에 의해 계산된 Cf 값의 변화를 나타낸 것이다. 전착이 진행됨에 따라 약간 작아지는 경향을 나타내었으며, 전착이 60, 120, 180 초 동안 진행됨에 따라 0.229, 0.226, 0.225 Hzcm2/ng의 값을 나타내었다. 10 MHz 수정진동자 전극의 이론적 값은 0.226 Hzcm2/ng이며, 이론값을 나타낸 전착 시간은 120 초이었다. 전착층이 두꺼워짐에 따라 Cf는 약간 감소하는 경향을 나타내었으며, 이는 Vatankhah15) 등에 의해 보고된 결과와 비슷하였다.
3.2. 백금 염소침출의 속도론적 연구
EQCM의 효과적인 응용 예는 유가금속이 침출 시 용액 내에서 부가적인 반응을 통해 용해된 양의 측정이 용이하지 않은 경우나 용액 샘플링이 실험 자체에 영향을 주는 경우 등이 있다. 백금족 중 Ru은 산화제로 염소를 사용하여 염산용액에서 침출이 가능하나 침출과 동시에 휘발되는 반응도 가능하므로 용액 샘플링 후 ICP 분석 시에는 큰 오차가 발생할 수 있다. 또한 백금족은 고가이므로 침출용액의 부피를 샘플링이 영향을 주지 않을 정도로 크게 연구를 진행하기 어려울 경우도 있다. 이때 전기화학적으로 전압, 전류를 인가하거나 또는 OCP(open circuit potential)만을 측정하는 등 전기화학적 자극없이 공진주파수의 변화만을 관찰하는 침출실험을 실시할 수 있다. 본 연구에서는 염소를 산화제로 사용하여 실험시의 안전상 최소규모의 실험 장치를 이용한 백금의 침출 연구에 대해 EQCM을 적용한 예를 소개하였다.
3.2.1. 실험 방법
본 연구에서는 산화제로 염소를 실시간으로 전해생성하여 침출조 내로 공급하였고 침출액은 염산용액을 사용하였다. 침출시료는 International Crystal Manufacturing 사의 10 MHz AT-cut 수정진동자 전극의 용액노출면 백금 전극을 사용하였다(Fig. 4의 왼쪽). 이때 사용된 수정진동자 전극의 측정값 Cfmeasured와 이론값 Cftheoretical의 비 Cfmeasured/Cftheoretical은 1.02±0.03이었다. 침출조는 340 mL 용량의 워터자켓이 달린 pyrex 반응조이며, 실시간으로 전해생성된 염소를 주입하기 위한 가스 버블링 장치가 구비되어 있다(Fig. 9). 침출시 침출액의 온도는 순환항온조를 사용하여 ± 0.1°C 이내로 조절하였고 용액내 용존 염소의 농도는 요오드 적정법(Iodometric titration)25)으로 확인하였다. 실험은 5 mol/L 염산용액의 온도가 설정값에 도달하면 염소주입을 정지하고 15 mmol/L로 정해진 염소농도를 적정법으로 확인하였다. 용액 온도와 용존 염소농도가 목표값에 도달하면 수정진동자 전극을 침출조에 장입하고 백금의 용해에 따른 공진주파수 변화를 측정하였다.
3.2.2. 실험 결과 및 고찰
Fig. 10은 용액온도에 따른 백금의 용해에 따른 공진주파수 변화로부터 Sauerbrey 식에 따라 계산된 질량감소를 나타낸 것이다. 전극을 용액에 장입한 후 시간이 지남에 따라 백금의 용해에 따른 질량감소가 측정되었으며, 질량감소 기울기는 온도가 높아짐에 따라 커졌다. 이로부터 백금용해의 활성화 에너지를 구하기 위해 동일 조건 반복실험을 실시하여 실험오차를 줄였고 질량감소가 직선적인 구간을 해당 온도에서의 용해속도로 선택하였다(Fig. 11). 이로부터 Arrhenius plot을 구해보면 Fig. 12와 같고 이때 기울기에 해당하는 활성화 에너지는 83.5 kJ/mol이었다. 이는 백금의 침출 반응이 화학반응율속임을 의미한다.
4. 결 론
EQCM은 역압전효과를 나타내는 수정진동자의 공진주파수 변화를 이용하는 미소질량변화측정 시스템이다. 특히 실시간으로 해상도 nanogram 수준의 질량변화 분석이 가능하여 금속의 용해와 전착, 다양한 유, 무기 막특성 연구, 센서로서의 응용 등에 널리 활용되고 있다. 공진주파수 변화를 질량변화로 변환하는 원리는 Sauerbrey에 의하여 식으로 제시되었으며, 질량변화 외 온도, 용액 점도, 수압, 스트레스 등등의 이유로 공진주파수가 변하는 원인들에 대해서는 실험 시 세심한 주의를 기울이고 제어할 필요가 있다. EQCM의 활용 예로 은의 전착과 백금의 염소 침출에 대해 간단하게 소개하였다. 은의 전착은 Sauerbrey 식 적용에 필요한 calibration constant를 측정하는데 널리 활용되며, 본 연구에서는 정전류법에 의해 10 MHz At-cut 수정진동자 전극에 대해 평균 0.2267 Hzcm2/ng로 이론값에 가까운 값을 얻었다. 또한 백금의 염소침출 시 수정진동자의 전극 물질로 증착된 백금을 실험시료로 사용하여 실시간으로 용액 온도에 따른 백금의 용해속도를 측정하였다. 이로부터 염소침출 시 백금용해의 활성화에너지는 83.5 kJ/mol이고 화학반응율속임을 밝혀내었다.














